喜報 | 熱烈祝賀菲特能特設計團隊榮獲實用新型專利!
與現有技術相比,提高了清洗效率,進而提高了施肥效率。
2021-02-02
近日,菲特能特設計團隊捷報頻傳,榮獲實用新型專利,《一種施肥機》實用新型專利于2020年1月29 日正式通過,此項專利由李懷春設計師主要負責設計完成。

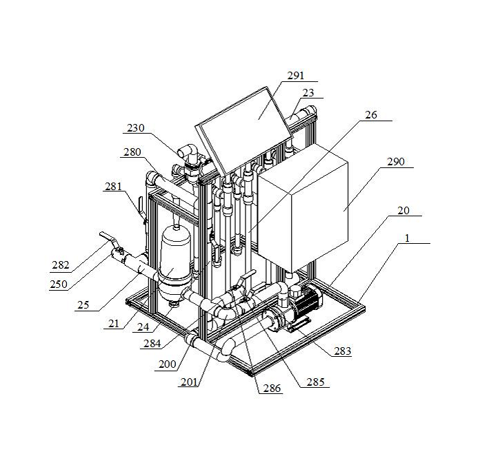
《一種施肥機》通過設置反沖洗疊片過濾器及相匹配的反沖洗單元,當反沖洗疊片過濾器內的雜質需要清理時,可快速對反沖洗疊片過濾器進行清洗。

該發明解決了現有技術中因施肥機設置手動清洗過濾器發生堵塞進行清洗時效率低下的技術問題。包括:水泵、反沖洗疊片過濾器、空氣閥連接管道、中間進水管道、中間注肥管道及注肥控制裝置;水泵的出口通過泵出水管道與反沖洗疊片過濾器的入口連接,反沖洗疊片過濾器的出口連接出肥管道;反沖洗單元,包括:反沖洗進水管道,一端連接中間進水管道,另一端連接出肥管道,并設置反沖洗進水電磁閥;防倒流電磁閥,設置于泵出水管道;排污管道,與泵出水管道連接;控制單元,與施肥單元及反沖洗單元電連接。
與現有技術相比,提高了清洗效率,進而提高了施肥效率。
上述專利以菲特能特在設計與檢測過程中面對的實際工程問題為基礎,通過實際工程技術總結與室內試驗研究,提出的創新性的技術成果,也是公司寶貴的知識產權,對增強公司科技力量及市場競爭力提供了有力支撐。